ZZYP-16C铸钢自力式压力调节阀

ZZYP型自力式压力调节阀(简称调压阀)是利用被调介质自身能量实现自动调节的执行器产品。
该产品最大特点,能在无电、无气的场所工作,是一种节能产品。压力设定值可在运行中随意调整。常规产品采用快开流量特性,亦可采用线性、等百分比流量特性。动作灵敏,减压比一般情况下最大可达10,最小为1.25,广泛应用于石油、化工、电力、冶金、食品、轻纺、居民楼群等各种工业设备中的气体、液体、蒸汽等介质低压差减压、稳压(用于控制阀后压力),或泄压、稳压(用于控制阀前压力)的自动控制。
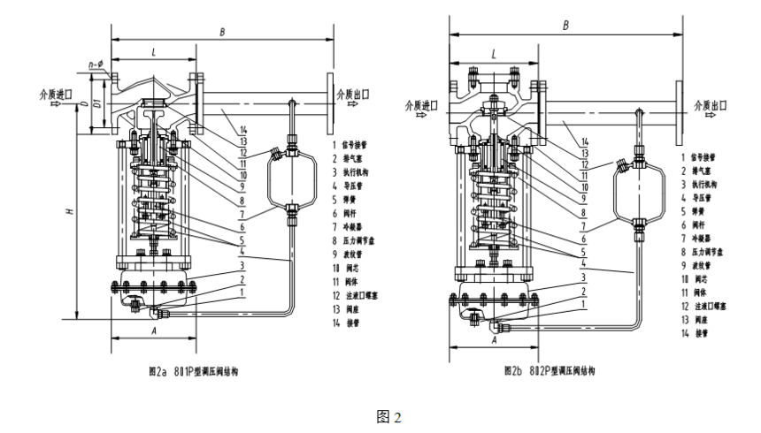
调压阀主要由执行机构、调节机构、导压管与接管等四部分组成。执行机构有薄膜式(用于被调压力≤0.6Mpa)、活塞式(用于被调压力>0.6Mpa)、波纹管式(用于高温或腐蚀性流体),调节机构为单座(波纹管平衡)型式(控制压力≤1.0MPa)。

图2a结构为单座式,阀后压力控制,初始状态常开。原理:介质由箭头方向进入阀体,经阀芯、阀座节流后输出。另一路经冷凝器(介质为蒸汽时使用)冷却后,引入执行机构膜室,其压力作用在膜片有效面积上产生一个推力,带动阀杆、阀芯位移,使节流口面积发生变化,达到减压稳压目的。若阀后压力高于设定值,则作用在膜片上的力增大,压缩弹簧,带动阀芯位移,减小调压阀开度,直至阀后压力下降到设定值。同理,若阀后压力低于设定值,由于弹簧反作用力,带动阀芯位移,增大调压阀开度,直至阀后压力上升到设定值
图2b结构为单座式,阀前压力控制,初始状态常闭。原理:介质由箭头方向进入阀体,另一路经冷凝器(介质为蒸汽时使用)冷却后,引入执行机构膜室,其压力作用在膜片有效面积上产生一个推力,带动阀杆、阀芯位移,使阀门开启度增大,若阀前压力高于设定值,则作用在膜片上的力增大,压缩弹簧,带动阀芯位移,增大调压阀开度,直至阀前压力下降到设定值。同理,若阀前压力低于设定值,由于弹簧反作用力,带动阀芯位移,减小调压阀开度,直至阀前压力上升到设定值。

1、主要参数、性能指标
公称通径DN(mm) | 20 | 25 | 32 | 40 | 50 | 65 | 80 | 100 | 125 | 150 | 200 | 250 | 300 |
额定流量系数(KV) | 7 | 11 | 20 | 30 | 48 | 75 | 120 | 190 | 300 | 480 | 760 | 1210 | 1936 |
额定行程(mm) | 8 | 10 | 14 | 20 | 25 | 40 | 50 | 60 | 70 | ||||
公称压力PN(Mpa) | 1.6(150LB) 4.0 (300LB) | ||||||||||||
压力分段范围(Kpa) | 15~50、40~80、60~100、80~140、120~180、160~220、200~260、240~300、280~350、330~400、380~450、430~500、480~560、 540~620、600~700、680~800、780~900、880~1000 | ||||||||||||
流量特性 | 快开 | ||||||||||||
调节精度(%) | ±5 | ||||||||||||
使用温度(℃) | ≤350 | ||||||||||||
允许泄漏量(L/h) | 10-4X阀额定容量 | ||||||||||||
减压比(阀后压力/阀前压力) | 最大10、最小1.25 | ||||||||||||
2、主要零件材料
零件名称 | 材料 |
阀体 | ZG230~450、ZG1Cr18Ni9Ti、ZG0Cr18Ni12Mo2Ti |
阀盖 | 35#、1Cr18Ni9Ti、0Cr18Ni12Mo2Ti |
阀芯 | 1Cr18Ni9Ti、0Cr18Ni12Mo2Ti |
阀座 | 1Cr18Ni9Ti、0Cr18Ni12Mo2Ti |
阀杆 | 1Cr18Ni9Ti、0Cr18Ni12Mo2Ti |
橡胶膜片 | 丁腈橡胶、耐油橡胶、氟橡胶、氯丁橡胶 |
填料 | 聚四氟乙烯、柔性石墨 |
3、外形尺寸及重量
公称通径DN(mm) | 15 | 20 | 25 | 32 | 40 | 50 | 65 | 80 | 100 | 125 | 150 | 200 | 250 | 300 | ||
法兰接管尺寸(B) | 383 | 512 | 603 | 862 | 1023 | 1380 | 1800 | 2000 | 2200 | |||||||
法兰端面距(L) | 150 | 150 | 160 | 180 | 200 | 230 | 290 | 310 | 350 | 400 | 451 | 600 | 650 | 740 | ||
压力调节范围Kpa | 15-140 | H | 475 | 520 | 540 | 710 | 780 | 840 | 880 | 915 | 940 | 1000 | ||||
A | 280 | 310 | ||||||||||||||
120-300 | H | 455 | 500 | 520 | 690 | 760 | 800 | 870 | 880 | 900 | 950 | |||||
A | 195 | 230 | ||||||||||||||
280-500 | H | 450 | 490 | 510 | 680 | 750 | 790 | 870 | 860 | 890 | 940 | |||||
A | 176 | 200 | 280 | |||||||||||||
480-1000 | H | 445 | 480 | 670 | 740 | 780 | 860 | 850 | 880 | 930 | ||||||
A | 176 | 200 | 280 | |||||||||||||
重量 (Lg) | 26 | 37 | 42 | 72 | 90 | 114 | 130 | 144 | 180 | 200 | 250 | |||||
导压管接头螺纹 | M16X1.5 | |||||||||||||||
注:表中法兰、法兰端面距为国家标准,可按用户指定标准制造,如:ANSI、JIS、DIN等。
调压阀主要由执行机构、调节机构、导压管与接管等四部分组成。执行机构有薄膜式(用于被调压力≤0.6Mpa)、活塞式(用于被调压力>0.6Mpa)、波纹管式(用于高温或腐蚀性流体),调节机构为单座(波纹管平衡)型式(控制压力≤1.0MPa)。

图2a结构为单座式,阀后压力控制,初始状态常开。原理:介质由箭头方向进入阀体,经阀芯、阀座节流后输出。另一路经冷凝器(介质为蒸汽时使用)冷却后,引入执行机构膜室,其压力作用在膜片有效面积上产生一个推力,带动阀杆、阀芯位移,使节流口面积发生变化,达到减压稳压目的。若阀后压力高于设定值,则作用在膜片上的力增大,压缩弹簧,带动阀芯位移,减小调压阀开度,直至阀后压力下降到设定值。同理,若阀后压力低于设定值,由于弹簧反作用力,带动阀芯位移,增大调压阀开度,直至阀后压力上升到设定值
图2b结构为单座式,阀前压力控制,初始状态常闭。原理:介质由箭头方向进入阀体,另一路经冷凝器(介质为蒸汽时使用)冷却后,引入执行机构膜室,其压力作用在膜片有效面积上产生一个推力,带动阀杆、阀芯位移,使阀门开启度增大,若阀前压力高于设定值,则作用在膜片上的力增大,压缩弹簧,带动阀芯位移,增大调压阀开度,直至阀前压力下降到设定值。同理,若阀前压力低于设定值,由于弹簧反作用力,带动阀芯位移,减小调压阀开度,直至阀前压力上升到设定值。

1、主要参数、性能指标
公称通径DN(mm) | 20 | 25 | 32 | 40 | 50 | 65 | 80 | 100 | 125 | 150 | 200 | 250 | 300 |
额定流量系数(KV) | 7 | 11 | 20 | 30 | 48 | 75 | 120 | 190 | 300 | 480 | 760 | 1210 | 1936 |
额定行程(mm) | 8 | 10 | 14 | 20 | 25 | 40 | 50 | 60 | 70 | ||||
公称压力PN(Mpa) | 1.6(150LB) 4.0 (300LB) | ||||||||||||
压力分段范围(Kpa) | 15~50、40~80、60~100、80~140、120~180、160~220、200~260、240~300、280~350、330~400、380~450、430~500、480~560、 540~620、600~700、680~800、780~900、880~1000 | ||||||||||||
流量特性 | 快开 | ||||||||||||
调节精度(%) | ±5 | ||||||||||||
使用温度(℃) | ≤350 | ||||||||||||
允许泄漏量(L/h) | 10-4X阀额定容量 | ||||||||||||
减压比(阀后压力/阀前压力) | 最大10、最小1.25 | ||||||||||||
2、主要零件材料
零件名称 | 材料 |
阀体 | ZG230~450、ZG1Cr18Ni9Ti、ZG0Cr18Ni12Mo2Ti |
阀盖 | 35#、1Cr18Ni9Ti、0Cr18Ni12Mo2Ti |
阀芯 | 1Cr18Ni9Ti、0Cr18Ni12Mo2Ti |
阀座 | 1Cr18Ni9Ti、0Cr18Ni12Mo2Ti |
阀杆 | 1Cr18Ni9Ti、0Cr18Ni12Mo2Ti |
橡胶膜片 | 丁腈橡胶、耐油橡胶、氟橡胶、氯丁橡胶 |
填料 | 聚四氟乙烯、柔性石墨 |
3、外形尺寸及重量
公称通径DN(mm) | 15 | 20 | 25 | 32 | 40 | 50 | 65 | 80 | 100 | 125 | 150 | 200 | 250 | 300 | ||
法兰接管尺寸(B) | 383 | 512 | 603 | 862 | 1023 | 1380 | 1800 | 2000 | 2200 | |||||||
法兰端面距(L) | 150 | 150 | 160 | 180 | 200 | 230 | 290 | 310 | 350 | 400 | 451 | 600 | 650 | 740 | ||
压力调节范围Kpa | 15-140 | H | 475 | 520 | 540 | 710 | 780 | 840 | 880 | 915 | 940 | 1000 | ||||
A | 280 | 310 | ||||||||||||||
120-300 | H | 455 | 500 | 520 | 690 | 760 | 800 | 870 | 880 | 900 | 950 | |||||
A | 195 | 230 | ||||||||||||||
280-500 | H | 450 | 490 | 510 | 680 | 750 | 790 | 870 | 860 | 890 | 940 | |||||
A | 176 | 200 | 280 | |||||||||||||
480-1000 | H | 445 | 480 | 670 | 740 | 780 | 860 | 850 | 880 | 930 | ||||||
A | 176 | 200 | 280 | |||||||||||||
重量 (Lg) | 26 | 37 | 42 | 72 | 90 | 114 | 130 | 144 | 180 | 200 | 250 | |||||
导压管接头螺纹 | M16X1.5 | |||||||||||||||
注:表中法兰、法兰端面距为国家标准,可按用户指定标准制造,如:ANSI、JIS、DIN等。
1、 自力式调压阀的安装
调压阀应直立安装在水平管道上,安装方法如图4

安装方式说明
(1) 调节气体,阀前压力调节(K型),过滤器(1)可以不安装
(2) 调节气体,阀后压力调节(B型),过滤器(1)可以不安装
(3) 调节液体,阀前压力调节(K型),对于非清洁流体,应装过滤器(1)
(4) 调节液体,阀后压力调节(B型),对于非清洁流体,应装过滤器(1)
(5) 调节蒸汽,阀前压力调节(K型),应装冷凝器(4),建议装过滤器(1)
(6) 调节蒸汽,阀后压力调节(B型),应装冷凝器(4),建议装过滤器(1)
安装注意事项:
(7) 冷凝器必须高于调压阀的执行机构而低于阀后(阀后调压阀)或阀前(阀前调压阀)接管,以保证冷凝器内充满冷凝液。
(8) 取压点应取在离调压阀适当位置,阀前泄压阀应大于2倍管道直径,阀后调压阀应大于6倍管道直径。
(9) 为便于现场维修操作,调压阀四周应留有适当空间,前后应设置截止阀与旁路手动阀,如图5所示。

(10) 调压阀口径大于DN100时,应设置固定支架。
(11) 介质流动方向应于阀体上箭头指向一致,前后管道中心应对准调压阀两法兰中心,避免阀体承受过大的应力。
(12) 阀前应设置过滤器以防止介质中杂质堵塞导压管。
(13) 调压阀应安装在环境温度不超过-25℃~55℃的场合。
2、自力式调压阀的使用
在常温下使用气体或低粘度液体场合的操作程序;(参见图6)
(1) 缓慢开启阀前后截止阀。
(2) 拧松排气塞或气接头7直至气体或液体从执行机构或导压管内溢出为止。
(3) 然后重新拧紧排气塞或气接头调压阀即可工作。所需压力的大小可通过压力调节盘的调整而得到,调整时,注意观察压力表示值,动作应缓慢,不得使阀杆跟着转动。
使用蒸汽场合时的操作程序;(参见图7)
(1) 从冷凝器上拧下注液口螺钉6。
(2) 拧松执行机构排气塞7。
(3) 使用漏斗通过注液口加水直至从排气孔流出为止。
(4) 控紧排气塞7,继续注水直至溢出注液口。
(5) 拧紧注液口螺钉6。
(6) 缓慢开启调压阀前后截止阀1。
(7) 调整压力调节盘5,并观察压力表示值到要求为止。

2、 自力式调压阀的维修
调压阀投入运行后,一般维护工作量很小,平时只要观察阀前、阀后压力示值是否符合工艺所需值要求即可。另外,观察填料函与执行机构是否渗漏,若渗漏应拧紧或更换填料及膜片。调压阀常见故障排除方法(见表)。
表
故 障 现 象 | 产 生 原 因 | 排 除 方 法 |
阀后压力不稳定随着 阀前压力变动而变动 | 1、阀芯被异物卡住 2、阀杆、推杆卡住 3、进液管道堵塞 | 1、重新拆装排除异物 2、重新调整 3、疏通 |
阀后压力降不下来, 始终在需求值上方变动 | 1、 设定弹簧刚度太大 2、 阀口径过大 3、 阀前压力过高,减压比过大 | 1、 更换弹簧 2、 更换较小口径 3、 减压比大于10,应2级降压 |
阀后压力升不上去, 始终在需求值下方变动 | 1、 弹簧刚度太小 2、 口径过小 3、减压比过小 | 1、更换弹簧 2、更换较大口径 3、 减压比小于1.25, 应提高阀前压 |
阀前压力升不上去, 始终在需求值下方动作 | 1、 设定弹簧刚度太小 2、 阀芯被异物卡住 阀杆、推杆卡住 3、 阀芯、阀座损坏,泄漏量过大 4、 阀口径过大 | 1、 更换弹簧 2、 重新拆装 3、 重新调整 4、 重新研磨,或更换 5、 更换较小口径 |
阀前压力降不下来, 始终在需求值上方动作 | 1、 设定弹簧刚度太大 2、 口径太小 3、阀芯、阀杆、推杆卡住 | 1、 更换弹簧 2、 更换较大口径 3、 排除卡堵,重新调整 |
阀后压或阀前压 波动过于频繁 | 1、 阀口径过大 2、 执行机构膜室容量太小 | 1、 选择恰当的阀口径 2、 在进液管道内增设阻尼器 |
型号编制说明
